Contact Us
浙江元利自控阀门科技有限公司
咨询电话:0577-67186769
图文传真:0577-67186769
手机:18969709793
联系人:马经理
E-mail:275475469@qq.com
地 址:浙江省温州市永嘉县瓯北码道工业区.

详细介绍

1、V型切口的球芯与金属阀座之间具有剪切作用,特别适用于含纤维、微小固体颗粒、料浆等介质;
2、蜗轮传动V形切断球阀还具有调节并可靠定位能力,流量特性为近似百分比,可调范围广;
3、采用板簧加载的可动阀座结构,阀座与球芯不会产生卡阻或脱离等问题,密封可靠,使用寿命长
城建、化工、冶金、石油、制药、食品、饮料、环保
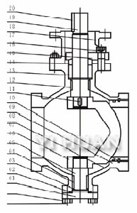
V型球阀 总装图
| 序号 | 材料 标准 零件名称 | 材料牌号 | 序 号 | 材料 标准 零件名称 | 材料牌号 | ||||||||
| 碳钢 | 不锈钢 | 碳钢 | 不锈钢 | ||||||||||
| GB | ASTM | GB | ASTM | GB | ASTM | GB | ASTM | ||||||
| 01 | 双头螺柱 | 35CrMoA | A193-B7 | 1Cr17Ni2 | A193-B8M | 11 | 阀座 | 2Cr13渗氮 | A276-410渗氮 | 1Cr18Ni9Ti 1Cr18Ni12Mo2Ti 渗氮 | F304/F316 /F304L/F316L 渗氮 | ||
| 02 | 螺母 | 45 | A194-2H | 0Cr18Ni | A194-8M | 12 | 球体键 | 40Cr | 40Cr | 1Cr17Ni2 | 1Cr17Ni2 | ||
| 03 | 底盖 | 25 | A105 | 1Cr18Ni9Ti 1Cr18Ni12Mo2Ti | F304/F316 /F304L/F316L | 13 | 上阀杆轴承 | PTFE;PPL | PTFE;PPL | PTFE;PPL | PTFE;PPL | ||
| 04 | 垫圈 | 氟橡胶;PTFE; 金属夹石墨 | 14 | 阀杆填料 | 石墨 | ||||||||
| 05 | 止推轴承 | 金属夹PTFE | 15 | 填料压环 | 2Cr13 | A276-410 | 1Cr18Ni9Ti 1Cr18Ni12Mo2Ti | F304/F316 /F304L/F316 | |||||
| 06 | 下阀杆轴承 | 金属夹PTFE | 16 | 填料压盖 | WCB | A216-WCB | ZG1Cr18Ni9Ti ZG1Cr18Ni12Mo2Ti | CF8/CF8M/ CF3/CF3M | |||||
| 07 | 下阀杆 | 2Cr13 | A276-410 | 1Cr18Ni9Ti 1Cr18Ni12Mo2Ti | F304/F316 /F304L/F316L | 17 | 螺钉 | 35CrMoA | A193-B7 | 1Cr17Ni2 | A193-B8M | ||
| 08 | 球体 | ZG1Cr18Ni9Ti 渗氮 | CF8 渗氮 | 1Cr18Ni9Ti 1Cr18Ni12Mo2Ti 渗氮 | F304/F316 /F304L/F316L 渗氮 | 18 | 支架 | WCB | WCB | WCB | WCB | ||
| 09 | 阀体 | WCB | A216-WCB | ZG1Cr18Ni9Ti ZG1Cr18Ni12Mo2Ti | CF8/CF8M/ CF3/CF3M | 19 | 上阀杆 | 2Cr13 | A276-410 | 1Cr18Ni9Ti 1Cr18Ni12Mo2Ti | F304/F316 /F304L/F316L | ||
| 10 | 阀座0形圈 | 氟橡胶 | 氟橡胶 | 氟橡胶 | 氟橡胶 | 20 | 键 | 40Cr | 40Cr | 1Cr17Ni2 | 1Cr17Ni2 | ||
1、设计、制造 按GB12237-89
2、结构长度按 GB12221-89
3、连接法兰:JB79-94
4、阀门检查和试验按GB13927-89
法兰连接V形球阀 PN1.6 MPa主要连接尺寸及重量
| 公称通径DN | 50 | 65 | 80 | 100 | 125 | 150 | 200 | 250 | 300 | 400 | 500 | |
| L | 124 | 145 | 165 | 194 | 210 | 229 | 243 | 297 | 338 | 520 | 600 | |
| H | 102 | 114 | 127 | 152 | 184 | 219 | 273 | 360 | 395 | 470 | 580 | |
| 手动 | H1 | 107 | 125 | 152 | 178 | 300 | 330 | 398 | 495 | 580 | 670 | 840 |
| E | - | - | - | - | - | - | 116 | 116 | 171 | 257 | 257 | |
| F | - | - | - | - | - | - | 350 | 350 | 400 | 400 | 400 | |
| W | 230 | 40 | 400 | 650 | 1050 | 1050 | 600 | 600 | 800 | 800 | 800 | |
| Wt(?K) | 12 | 16 | 22 | 35 | 58 | 74 | 205 | 322 | 460 | 864 | 1600 | |
| 电动 | H2 | - | - | - | - | - | 554 | 600 | 652 | 760 | 830 | 940 |
| L1 | - | - | - | - | - | 235 | 235 | 235 | 259 | 400 | 410 | |
| 气动 | H3 | 274 | 379 | 389 | 479 | 552 | 666 | 736 | 926 | 1059 | 1393 | 1538 |
| L2 | 270 | 405 | 405 | 576 | 576 | 776 | 776 | 776 | 1060 | 1360 | 1360 | |
法兰连接V形球阀 PN2.5 MPa主要连接尺寸及重量
| 公称通径DN | 50 | 65 | 80 | 100 | 125 | 150 | 200 | 250 | 300 | 400 | 500 | |
| L | 124 | 145 | 165 | 194 | 210 | 229 | 243 | 297 | 338 | 520 | 600 | |
| H | 102 | 114 | 127 | 152 | 184 | 219 | 273 | 360 | 395 | 470 | 580 | |
| 手动 | H1 | 107 | 125 | 152 | 178 | 300 | 330 | 398 | 495 | 580 | 670 | 840 |
| E | - | - | - | - | - | - | 116 | 116 | 171 | 257 | 257 | |
| F | - | - | - | - | - | - | 350 | 350 | 400 | 400 | 400 | |
| W | 230 | 40 | 400 | 650 | 1050 | 1050 | 600 | 600 | 800 | 800 | 800 | |
| Wt(?K) | 15 | 24 | 30 | 55 | 87 | 118 | 255 | 370 | 533 | 1030 | 2100 | |
| 电动 | H2 | - | - | - | - | - | 235 | 235 | 400 | 400 | 410 | 420 |
| L1 | - | - | - | - | - | 74 | 350 | 350 | 420 | 400 | 400 | |
| 气动 | H3 | 340 | 379 | 452 | 479 | 646 | 666 | 814 | 1002 | 1059 | 1205 | 1295 |
| L2 | 405 | 405 | 574 | 574 | 756 | 756 | 1060 | 1060 | 1060 | 1360 | 2840 | |
1、设计、制造 按GB12237-89
2、结构长度按 GB12221-89
3、连接法兰:JB79-94
4、 阀门检查和试验按GB13927-89
对夹连接V形球阀 结构图
对夹连接V形球阀 PN1.6 MPa主要连接尺寸及重量
| 公称通径DN | 50 | 65 | 80 | 100 | 125 | 150 | 200 | 250 | 300 | 400 | 500 | |
| L | 124 | 145 | 165 | 194 | 210 | 229 | 243 | 297 | 338 | 520 | 600 | |
| H | 102 | 114 | 127 | 152 | 184 | 219 | 273 | 360 | 395 | 470 | 580 | |
| 手动 | H1 | 107 | 125 | 152 | 178 | 300 | 330 | 398 | 495 | 580 | 670 | 840 |
| E | - | - | - | - | - | - | 116 | 116 | 171 | 257 | 257 | |
| F | - | - | - | - | - | - | 350 | 350 | 400 | 400 | 400 | |
| W | 230 | 40 | 400 | 650 | 1050 | 1050 | 600 | 600 | 800 | 800 | 800 | |
| Wt(?K) | 12 | 16 | 22 | 35 | 58 | 74 | 205 | 322 | 460 | 864 | 1600 | |
| 电动 | H2 | - | - | - | - | - | 554 | 600 | 652 | 760 | 830 | 940 |
| L1 | - | - | - | - | - | 235 | 235 | 235 | 259 | 400 | 410 | |
| 气动 | H3 | 274 | 379 | 389 | 479 | 552 | 666 | 736 | 926 | 1059 | 1393 | 1538 |
| L2 | 270 | 405 | 405 | 576 | 576 | 776 | 776 | 776 | 1060 | 1360 | 1360 | |
对夹连接V形球阀 PN2.5 MPa主要连接尺寸及重量
| 公称通径DN | 50 | 65 | 80 | 100 | 125 | 150 | 200 | 250 | 300 | 400 | 500 | |
| L | 124 | 145 | 165 | 194 | 210 | 229 | 243 | 297 | 338 | 520 | 600 | |
| H | 102 | 114 | 127 | 152 | 184 | 219 | 273 | 360 | 395 | 470 | 580 | |
| 手动 | H1 | 107 | 125 | 152 | 178 | 300 | 330 | 398 | 495 | 580 | 670 | 840 |
| E | - | - | - | - | - | - | 116 | 116 | 171 | 257 | 257 | |
| F | - | - | - | - | - | - | 350 | 350 | 400 | 400 | 400 | |
| W | 230 | 40 | 400 | 650 | 1050 | 1050 | 600 | 600 | 800 | 800 | 800 | |
| Wt(?K) | 15 | 24 | 30 | 55 | 87 | 118 | 255 | 370 | 533 | 1030 | 2100 | |
| 电动 | H2 | - | - | - | - | - | 235 | 235 | 400 | 400 | 410 | 420 |
| L1 | - | - | - | - | - | 74 | 350 | 350 | 420 | 400 | 400 | |
| 气动 | H3 | 340 | 379 | 452 | 479 | 646 | 666 | 814 | 1002 | 1059 | 1205 | 1295 |
| L2 | 405 | 405 | 574 | 574 | 756 | 756 | 1060 | 1060 | 1060 | 1360 | 2840 | |